近日,有国外媒体无意中发现了苹果公司两年前申请的一项有关自动驾驶的专利,该专利由美国专利商标局(U S。 patent and Trademark Office)

近日,有国外媒体无意中发现了苹果公司两年前申请的一项有关自动驾驶的专利,该专利由美国专利商标局(U.S。 patent and Trademark Office)在公布。该专利涉及汽车悬架结构和线控转向系统。看来苹果公司仍然对涉足汽车市场非常感兴趣。

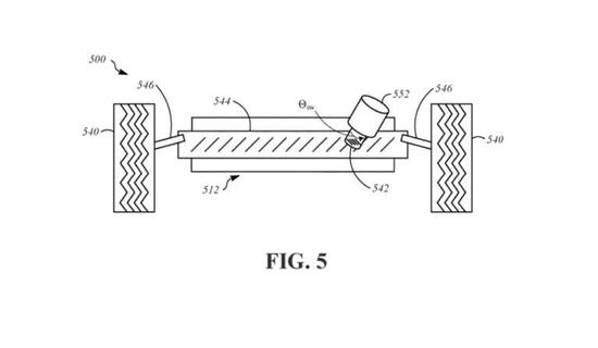
苹果公司在该专利中概述的转向和悬架系统最适用于自动驾驶车辆,并且基本上是连接车架和方向盘的部件以及独特的转向轴,转向轴的倾角为零度。一般来说,汽车的倾斜角是正的,但自动驾驶汽车不需要给驾驶员提供任何驾驶感觉,所以倾斜角为零度。如果使用像苹果在专利中展示的那样的悬架可以减少轮胎的磨损和更好的方向稳定性。
目前很难说苹果公司是否会将这套系统推向市场,因为在提交专利后的两年里,苹果公司的泰坦自动驾驶汽车项目(Project Titan autonomous vehicle group)发生了很多事情。导致苹果解雇了参与泰坦项目的200多名员工。
